剑指工控 星期四, 03/09/2023 - 18:52 发表
美的工业技术旗下绿色能源品牌——合康新能携MINERGY、HiEnergy 、WISDOM系列多款户用储能产品参加波兰太阳能光伏及风能展览会(ENEX)
剑指工控 星期三, 03/08/2023 - 13:23 发表
自写了WPF入门系列(点击学习)文章,收到很多大学生的私信,经常会问一些MVVM的问题,由于自己对MVVM也并不了解,遇到问题也是经常请朋友帮忙看看,趁着业余时间,经过一段时间得学习、开始写MVVM系列的文章,主要写一下自己对MVVM的理解,希望这不仅是对自己成长的记录,也能对同学们有所帮助。
来吧,让我们再次起航,WPF从入门到放弃,再到进阶之路!
剑指工控 星期二, 03/07/2023 - 15:19 发表
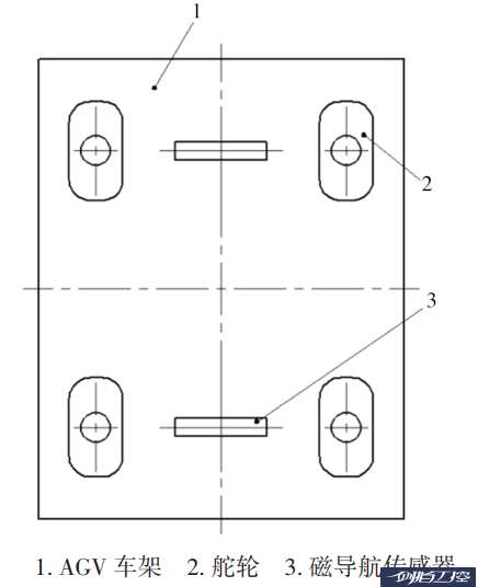
一、 AGV总体结构
四舵轮结构形式是全向AGV常用的轮系结构,其总体结构采用四个舵轮结构,通过4个舵轮的转角及速度实现AGV的直行、平移、转向及避障等动作。四舵轮AGV总体结构如图1所示。

图1 四舵轮AGV总体结构
四舵轮分布:在此种情况下,AGV车体四角皆分布舵轮,可实现AGV的全方位任意半径运动,直接提高AGV的运载能力,但其运动模型复杂,运动控制算法难,成为了目前四舵轮机器人研究的热点。
剑指工控 星期二, 03/07/2023 - 15:19 发表
剑指工控 星期二, 03/07/2023 - 15:18 发表
剑指工控 星期二, 03/07/2023 - 15:14 发表
剑控友人们,星标吧!
亲爱的剑控友人们,微信公众号又改版了,如果没有「星标」,公号文章就会渐渐沉底,我们可能长久失联。为了我们不再走散,请给我们一个星标,让我们每天都能相见
!
方法如下:
剑指工控 星期二, 03/07/2023 - 15:07 发表
1 相信很多人都听过。歌曲《化身孤岛的鲸》采用全新的编曲,巧妙地将悠远寂寥的鲸鸣编入曲中。
2 当周深的歌声与鲸鸣融为一体时,极尽空灵与美好,诉尽心中所想,讲述着一个在孤独与爱中成长的故事。
3 全新的编曲下,我们看到了那只频率52赫兹的,孤独的灰鲸,它藏于深海,正独自深情地告白。
化身孤岛的鲸》的创作背景是一条被称作世界上最孤独的鲸鱼。她叫Alice,1989年被发现,1992年开始被追踪录音。在其他鲸鱼眼里,Alice就像是个哑巴。她多年没有一个同伴亲属或朋友,唱歌的时候没有人听见,难过的时候也没有人理睬。
原因是这只鲸鱼的频率是52赫兹,而正常鲸鱼的频率只有15~25赫兹,她的频率一直与众不同,因此她也注定孤独一生。追踪记录显示,几十年的时间里,Alice一直在孤独歌唱着,从加州中部的温暖海域到北太平洋的刺骨洋流,一路迁徙一路寻找,却从来没有得到过任何回应。
人们想象它是一只孑然一身的鲸鱼,在大海中独自游动,说着无人听见的话,唱着无人懂得的歌。人们想象它毕生都在努力呼唤着自己的另一半,却始终没有回应。人们想象它是一支独一无二的号角,面对大洋深处,发出过去不曾有过、将来也不会再有的呐喊。
剑指工控 星期五, 03/03/2023 - 16:56 发表
- 三方合作推出创新型端到端5G专网解决方案,推动工业自动化系统升级改造
- 采用前沿虚拟连接方式,可部署在不同工业和物流站点
中国北京,2023年3月3日——在西班牙巴塞罗那举行的2023年世界移动通信大会(MWC2023)上,施耐德电气与凯捷(Capgemini)和高通技术公司(Qualcomm Technologies, Inc)共同宣布,将合作推出行业首款面向起重控制系统自动化的5G解决方案。目前,三家公司已在施耐德电气起重控制实验室启动设计和安装工作。该5G专网解决方案将统一采用施耐德电气工业自动化系统现有的无线连接,取代原有的线缆连接,在钢铁厂、港口等各个工业站点简化大规模部署工作。
页面