方原柏定量皮带秤知识讲座——第三讲定量皮带秤的部件(获奖名单)
定量皮带秤就是一台皮带输送机,只不过其长度通常只有2~4m,最长一般不超过6m,再加上它要实现称重功能,所以其部件较多,其中主要的有电机、减速机、滚筒、托辊、皮带、料仓下料口、剪切闸门、裙板、外罩、皮带张紧装置、皮带清扫器、承载器、速度传感器等等。
3.1电机
定量皮带秤的电机必须达到或超过应用的功率要求,变频电机一般要求达到定量皮带秤量程比或流量变化范围,变频调速电机具有恒转矩输出特性。恒转矩是一个定义负载特性的术语,即不管驱动速度是多少,而用来驱动设备所要求的转矩是恒定的,例如,大多数输送机要求的转矩是恒定的。
电机应该选用高效节能电机:表3-1是国际、美国和中国标准规定的高效节能电机。
表3-1 国际、美国和中国标准规定的高效节能电机
|
IEC国际标准 |
NEMA美国标准 |
GB中国标准 |
|
IE2 |
高效 |
能效3级 |
|
IE3 |
中效 |
能效2级 |
由最大流量除以最小流量所确定的量程比是确定的,定量皮带秤应用的量程比通常为10:1,而设备必须在这个范围内提供精确的称量结果。当变频调速电机使用时,通过皮带速度变化和入口闸板的开度变化可以达到所需的10:1甚至更大一些的量程比。以50Hz运行的电机通常转速为1500r/min,60Hz的转速为1800r/min,通过减速机减速比计算出输出速度是非常重要的。通常要求变频器最低输出频率为5Hz,而变频器最高输出频率为50Hz或60Hz,这样就能达到10:1的量程比。
3.2减速机
定量皮带秤的电机以1500-1800r/min非常高的速度运行,齿轮减速器要将这一速度转换成准确称量和输送合适的皮带输送机的速度。齿轮减速器的大小是依赖于许多应用细节,如皮带宽度、物料剖面、输送机长度、物料的体积密度、给料长度以及电机的功率、轴和轴承的尺寸及环境条件。应用所需的转矩必须满足,安全系数至少为1.2,以保证不致当物料堵塞发生时损坏齿轮减速器。轴装直连是最流行的选择,与皮带、联轴节或链轮传动系统相比,简化连接,运行可靠,便于更换和维护。螺旋锥齿轮减速器提供最佳的扭矩等级、紧凑的安装和多功能的安装选项,齿轮减速器的输入必须与电机的法兰类型相匹配,安装方向对所使用的油量有影响。
当因量程变动原有定量皮带秤不能满足使用要求时,更换减速机是最简单的方法,在满足转矩要求的前提下,可以用同规格不同减速比的减速机来替代。
3.3滚筒
定量皮带秤的滚筒应中心凸起,以强制皮带跟踪。驱动滚筒应该是加保护层以保证匀速输送不打滑。被驱动滚筒不需要加保护层,但是短输送机(<2m)的滚筒也应加保护层以避免由于同心度造成皮带张力的变化。加保护层的滚筒用于冲洗应用,典型的是使用食品级氯丁橡胶、矿物处理使用加SBR的标准保护层。加保护层和其厚度可根据终端用户要求,通常最薄是6mm。滚筒可以焊接到轴上或使用XT轮毂圆锥锁定键轴。
当皮带宽度在1000mm以下时,建议采用Φ190mm直径的主滚筒;当皮带宽度在1200mm以上时,建议采用Φ250mm以上直径的主滚筒;当皮带宽度在1800mm以上时,建议采用Φ320mm以上直径的主滚筒。
3.4托辊
如果装置使用托辊来支撑皮带,称量托辊和称量托辊前后的托辊必须是适合称量的优质托辊,应运转灵活、径向跳动小。托辊应满足可靠输送的CEMA标准,皮带负荷的严格审查将确定采用哪一类的托辊。轴承的润滑和密封有助于减少定量皮带秤的维修时间,还提供出色的保护、防止污染和润滑油损失。绝大多数定量皮带秤采用平形托辊,其皮带张力小,托辊准直性校准简单。在一些应用中,进料斗下方的托辊应采用密集安装的缓冲托辊,以承受高料柱的压力和物料崩落的冲击力。
3.5皮带
一般来说,定量皮带秤的皮带应该是用于最佳称重精度的环形皮带,环形皮带无接头、尺寸准确、单位长度重量恒定、皮带两侧边长相等。而普通皮带有胶结接头,接头部分明显偏重,对精度有影响。环形皮带要求带可拆支座的定量皮带秤框架,以方便更换皮带,这使更换皮带的速度比皮带就地硫化或加机械接头处理方式更快。
输送矿物或骨料的应用适合采用丁苯(SBR)型皮带,温度较高的应用可以使用丁基(IIR)型皮带。对于食品和化学工业中的应用,一般可以使用聚氨酯型皮带,高温应用可以使用丁腈橡胶或硅树脂皮带。尖锐或磨损性物料需要食品或化工级皮带,应使用加厚型丁腈皮带。较薄的聚氨酯或硅橡胶皮带与厚的橡胶皮带比将更容易撕裂。
带挡边的皮带像裙板一样可以使皮带容纳更多的物料,特别是低运行堆积角的物料,但使用裙板的平皮带用于粒径较大(如10mm)的物料是理想的,较小颗粒尺寸物料及安息角很小的物料应该用挡边皮带,以防细小物料的泄漏和高磨损性物料对裙板的严重磨损。矮挡边是高度为12mm的梯形挡边,挡边高出皮带的每一侧边,使挡边处物料的高度低于挡边高度,以保证物料输送时不会从皮带的侧面滚出去。25mm的高挡边也可以提供,它提供了更大的物料容纳断面,但是滚筒直径必须至少200mm,以保证在滚筒处挡边的变形量不致太大。当波纹挡边转动到滚筒附近时,波纹皱褶打开,对挡边处皮带损伤小,波纹挡边的高度一般采用80mm较为适宜,对于薄料层波纹挡边的高度可采用60mm(见图3-1)。波纹挡边的高度再加大,将显著增大皮带刚度,增加皮带运行阻力,不利于称重。波纹挡边皮带价格高,只在必要场合使用,使用增加下部密封性能的裙板可在很多场合代替波纹挡边。
图3-1 挡边皮带
微流量定量给料机的输送皮带有采用夹布橡胶皮带(厚度δ=6mm),由于皮带的输送速度很慢,夹布橡胶皮带材质的细微不均匀都会造成皮重值波动,严重地影响定量给料机工作的稳定性。更换为材质较均匀的薄型PVC环形皮带(厚度δ=3mm),使下料量稳定,瞬时流量波动小,控制效果更好。
3.6 料仓下料口
定量皮带秤料仓下料口的设计应使物料从料仓流出时为“整体流”,“整体流”即料仓壁陡峭且光滑,物料均匀下降排出。“整体流”因“先进先出、进出均匀”,而不产生物料偏析、结拱、倾泻,有助于均匀从料仓卸料,而不致使物料停滞在仓内并变得密实、粘结而长期滞留。与之相反的是“漏斗流”,即仅在料仓的中心部位形成物料流,而其他区域物料停滞不动,粘结在料仓壁上,形成大鼠洞或搭拱,使给料减少或停止。而有的时候物料拱塌落,物料又喷涌而出,致使物料流不稳定、过期存放或成分偏析(见图3-2)。
图3-2 物料从料仓流出的状态
料仓下料口一般采用剪切闸门,使物料沿剪切闸门的整个宽度均匀稳定流出,可达到最高称重精度的应用。但在料仓下料不均匀的应用里,可以使用U形料仓下料口(见图3-3)。这种下料口没有剪切闸门,所以物料的断面不是一致的。在物料不因剪切拖出被破坏的应用中,必须使用U形料仓下料口。料仓下料口设计应适应物料,腐蚀性物料应使用不锈钢或带涂层的钢材。
图3-3 料仓下料口
性物料的应在磨损用中,料仓下料口结构应采用AR400或AR500锰钢或耐磨板。料仓下料口应具有与皮带接触的灵活密封件,以确保物料不从侧面或背面泄漏。
3.7剪切闸门
进料斗或稳流室的出口通常装有剪切闸门,限制了皮带上的物料剖面的形状和料层高度。闸门的闸板可上下移动,以改变给料量。剪切闸门的闸板有2种形状:平面形和半月形(见图3-4)。平面形闸板使物料流的外侧与裙板接触更多,磨损更严重,料流的稳定性稍差一点。而半月形闸板使物料形成的断面与裙板接触最少,物料从入口流出更稳定。
图3-4 剪切闸门的闸板
物料层的高度对小流量应大于60mm,中流量应大于120mm,大流量应大于200mm。对于平面形闸板开口所形成的长方形断面,料层高度建议是不低于宽度的1/3,以减少拖料的剪切力。
通常建议在闸板最小开度时,料层高度至少是物料最大颗粒尺寸的3倍,半月形闸板边缘物料断面的料层高度至少应大于物料的最大颗粒尺寸。
但对于某些块度过大的物料,如采用普通的闸板,这一要求很难满足,常常会有过大尺寸的块状物料单独通过或叠加通过,极易造成出口物料堵塞、划破皮带等问题。重锤式闸门(见图3-5)可用于大块状物料,闸门由十几块重锤并排安装,重锤的上方一侧开有园孔,固定轴穿过园孔固定多块重锤,重锤下方与皮带之间的空间可容许较大尺寸物料块通过,并以此高度保证皮带上物料负荷稳定,当偶尔有过大尺寸的物料块通过时,物料块在皮带的水平推力下顶住重锤的下方使之绕重锤固定轴向上旋转,过大尺寸的物料块得以通过,在图3-5中以虚线表示顶起后的重锤。此后,在重力的作用下,重锤又可恢复原有实线位置,重锤固定轴的安装高度可沿方形孔上下调整。
图3-5 重锤式闸门
1-重锤抬起的位置;2-重锤正常的位置;3-两侧固定板
对粉状物料、球状物料,如果安装普通的闸板,有可能发生物料倾泻的失控现象,国内一些厂家采用的办法是如图3-6所示的阶梯式闸门,它将常规定量给料机的小料仓的出口延长约700mm成为稳流室,稳流室内部安放高度逐渐降低的多个挡料板,以增加物料下料的阻力,适合球团矿及一部分细粉状物料。
图3-6 阶梯式闸门
1-挡料板;2-稳流室
3.8裙板
物料沿皮带输送时不泄漏是确保准确称量的关键,挡料裙板就起密封挡料的作用。裙板应从料仓下料口后向外张开,这样物料不发生堵塞。在流态化物料的应用里,裙板密封应加强,以避免在皮带的两侧发生泄漏(见图3-7)。裙板设计也应适应物料性能,腐蚀性物料应采用不锈钢或镀层裙板,磨损性物料的裙板应采用AR400或AR500锰钢或耐磨板。
图3-7 带裙板的定量皮带秤
1- 裙板
3.9 外罩
定量皮带秤通常会采用敞开式或封闭式的设计(见图3-8),依据长期的应用经验和地方政府的法规,当对这一选项没有任何规定时,应遵循长期的应用经验。敞开式装置更适合在食品和化学工业过程工业中的关键应用,特别是在需清洗的场合;封闭式有助于控制粉尘和防止环境污染。
图3-8 敞开式和封闭式外罩
国内还采用了一种半封闭式外罩(见图3-9),它将裙板的上部用盖板封闭起来,再加强裙板与运行皮带之间的密封,可将粉状物料全部罩在由裙板、皮带、盖板等构成的密封空间内移动。这一方面节省了投资,另一方面,查看定量皮带秤的运行更直接了。
图3-9 半封闭式外罩
3.10皮带张紧装置
重要的或高精度的应用里,运行过程中皮带张力必须保持恒定。重力驱动皮带张紧装置可克服由于温度影响或物料流变化造成的张力变化,张紧装置的驱动轮轴承通常安装在某种可伸缩或螺纹轴承滑动装置上,以正确跟踪和张紧皮带。
3.11皮带清扫器
当物料在皮带上粘附不卸料从而被连续称重时,将产生零点漂移。所以在操作过程中使用皮带清扫器保持皮带清洁是至关重要的,皮带清扫器通常分为头部刮板式清扫器和尾部空段清扫器
3.11.1头部刮板式清扫器
头部刮板式清扫器安装在定量皮带秤头部卸料滚筒处,用以清扫皮带工作面上粘附的物料,并使其落入头部漏斗中。可采用重锤刮板式或弹簧挂板式,靠重锤或弹簧的作用力使清扫刮板紧贴皮带,当皮带上粘接的物料进入时被刮刀清除掉。
3.11.2尾部空段清扫器
在操作过程中保持皮带返回侧上表面的清洁侧也是可靠输送的关键,否则物料可能堆积在滚筒上使张力发生变化,导致皮带准直性偏差。尾部空段清扫器安装在定量皮带秤尾部滚筒前,清扫器的刮板呈人字形的犁尖,犁尖位于皮带的中心,正对皮带运行方向,以便将物料从皮带上卸掉。
3.12承载器
由于尺寸所限,定量皮带秤的承载器通常采用一组称量托辊的单杠杆式承载器或直接承重式承载器,又因托辊间距很短,通常只有200mm~600mm,所以也有采用双杠杆双托辊式承载器或两组称量托辊组成的悬浮式承载器。由于定量皮带秤的皮带速度通常较慢,料层相对较厚,承载器上皮重与料重之比小,所以采用直接承重式结构的承载器优点更为突出。
图3-10 定量皮带秤的直接承重式承载器
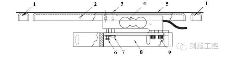
对比重轻的物料的中小量程的定量称重,如烟草、食品、谷物、动物饲料、化肥、粉末添加剂、水果、蔬菜等物料,当其给料范围在每小时数十公斤至每小时三五十吨时,常常应用一种新型承载器结构——滑床式承载器。滑床式承载器结构原理见图3-11,与皮带5接触的不再是称重托辊,而直接是滑床式承载器的不锈钢制承重滑床2,皮带5是由聚氨酯或聚乙烯制成,材质很轻,从而保证皮带与承重滑床之间的摩擦力非常小,减少了皮重而且经久耐用。承重滑床通过螺丝3直接连接到称重传感器4的顶部,称重传感器4的底部则用螺丝9在固定底座8上安装。
图3-11 WW100称重给料机的滑床式承载器
1-过渡滑床;2-承重滑床;3-称重传感器顶部安装螺丝;4-称重传感器;5-皮带;
6-过载保护螺丝;7-运输用螺丝;8-固定底座;9-称重传感器底部安装螺丝
定量皮带秤设计要求关注承载器所有细节,如称重传感器最好安装在定量皮带秤的框架外侧,以便快速清洗和校准,秤的准直性调整可以方便地用皮带支座升降来校准。
承载器中使用的称重传感器灵敏度应不小于2mV/V,称重传感器的容量应留有余量。
3.13速度传感器
速度传感器通常安装在定量皮带秤的驱动轮上,在返回皮带上安装的形式也可以使用,但良好地接触皮带和安装空间可能是一个问题。电机上安装速度传感器也是一种选择,但是这种安装形式不能检测到驱动皮带轮打滑。理想的组合是同时安装驱动滚筒的主速度传感器与电机的辅助速度传感器,以检测皮带打滑以及准确地监测皮带速度。速度传感器相适配的分辨率应在2Hz~2000Hz之间,应注意速度传感器的最低的分辨率能否满足所需的最小流量应用要求。
从本周起,国内皮带秤权威专家方原柏先生,将在“剑指工控”开设《定量皮带秤知识讲座》,从六大方面介绍定量皮带秤的相关知识和应用要点,深入浅出解答定量皮带秤选择和使用中的所有难题。
在此,小编特意备了一份薄礼,等你来学习
点击写留言,谈谈你的感受,想法!
《定量皮带秤知识讲座》若一期留言用户达到10人及以上,
则从该期参与留言的用户中挑选一名积极、热心网友
奖励50元微信红包 (本系列同一用户不重复奖励!)
第一期获奖用户为:Jack●杨!
第二期获奖用户为:刘义!
请添加小编微信:jzgkchina_com,领取50元红包奖励!
作者简介


