施耐德:跟我学系列-PLC编程软件Unity PoxL 3.0
本文详细讲述了施耐德PLC编程软件的安装过程,怎样创建一个工程,最后以一个流程灯实例做了具体说明。
1.1 安装前的工作
由于安装此软件会与360安全卫士发生冲突,请在安装之前关闭360安全卫士。
1.2 Unity ProxL3.0软件安装步骤
1.2.1 点击Unity ProxL图标
图 1-1
1.2.2 点击setup
图 1-2
1.2.3 选择chinese version
图 1-3
1.2.4 输入序列号,点击下一步
图 1-4
1.2.5 选择“中文”,点击下一步
图 1-5
1.2.6 选择安装路径,点击下一步
图 1-6
1.2.7 点击“Cancel”
图 1-7
1.2.8 点击“完成”
图 1-8
1.2.9 点击“是”,重新启动电脑
图 1-9
第2章 Unity ProxL3.0入门
2.1 如何使用Unity ProxL3.0
2.1.1 点击“Unity ProxL”,打开软件,点击“文件->新建”
图 2-1
2.1.2 可选择施耐德PLC三种CUP系列
图 2-2
2.1.3 选择Prenium系列,TSX P57 104M CPU,点击“确定”
图 2-3
2.1.4 进入软件初始界面
图 2-4
2.1.5 硬件配置,双击“配置”
图 2-5
2.1.6 双击机架上“1、2、3、4”选择你需要的配置,我厂辅机设备大多数配置如图2-6
图 2-6
2.1.7 双击“CPU模块(P57 104M)”图形,出现图2-7界面,查看相应模块的地址
图 2-7
2.1.8 点击“I/O对象”,在“%I”处打钩,点击“使用以下项更新网络”,查看开关量输入模块地址(开关量输处模块地址“%Q”处打钩)
图 2-8
2.1.9 点击“基本变量”,进行变量声明
图 2-9
2.1.10 左键点击“段”,之后点击右键,选择“新建段”,选择语言“LD”
图 2-10
2.1.11 现在就可以进行程序编写了。
图 2-11
第3章 Unity ProxL3.0程序编写
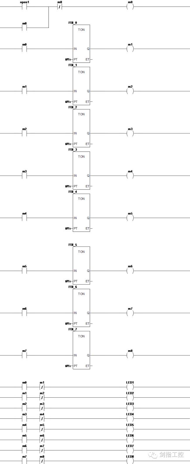
3.1 流水灯程序任务
任务:依次顺序点亮8个LED灯,时间间隔1S。
3.2 程序流程图
3.3 流水灯程序配置
由于程序实现的功能只有一个输入(用于启动),8个输出;所以系统配置只需要电源模块、CPU模块、开关量输入模块、开关量输出模块,我厂辅机设备一般配置如图3-1所示:
图 3-1
3.4 定时器的使用
3.4.1 接通延迟定时器如图3-2
图 3-2 定时器模块
3.4.2 使用方法见表3-1
表3-1 定时器使用方法
3.5 变量定义
图 3-3
说明:m0-m8为中间变量,open1(常开触点)地址为:%i0.1.0;LED1-LED8(输出线圈)地址为:%q0.2.0-%q0.2.7
3.6 程序编译无错误(0 错误,0警告)
图 3-4
3.7 流水灯程序清单


